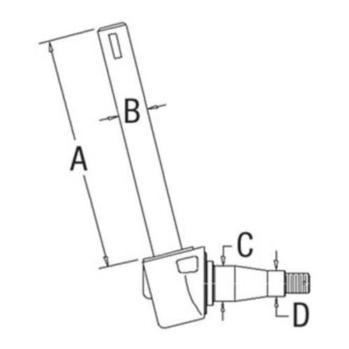
Massey Ferguson 897475M96 Right Spindle Assembly
Price:
$137.84
Stock Status:
In Stock
Availability: Usually Ships in 1 to 2 Days
Brand: A&I Products
Part Number: 897475M96
SKU: FP-897475M96
Side Variations:
