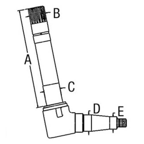
Ford New Holland SBA330302580 Right Spindle
Price:
$395.10
Stock Status:
In Stock
Availability: Usually Ships in 1 to 2 Days
Brand: A&I Products
Part Number: SBA330302580
SKU: FP-SBA330302580
Side Variations:
